产品分类
SOTN90/80/70压力变送器
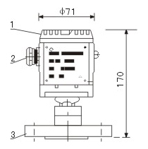
SOTN904型直装平法兰液位变送器
SOTN904型液位变送器为SOTN901的变形产品,其显著特点是采用较大内孔和法兰连接方式,适用于非密闭场合,尤其是粘稠或浆状介质和强腐蚀性液体,或富含颗粒类介质的测量。不易堵塞,便于清洗,进一步发挥了陶瓷传感器抗腐蚀性能好的技术特点和较经济的优势
测量范围:0~1KPa~2MPa
精度等级:0.1,0.2,0.5级
防爆等级:ExiaⅡCT4~CT6(本安型)
工作电压:12.5~36VDC
输出信号:4~20mA
量程迁移:可做标准量程10:1的迁移
传感器材料:96%氧化铝陶瓷
传感器外壳材料:优质不锈钢316L,PTFE
传感器防护等级:IP65
信号线孔:PG16 M20×1.5
密封材料:氟素橡胶,PTFE(聚四氟乙烯)
过程连接:外螺纹G2法兰DN50、DN80、
DN100
震动影响:任意轴上,200Hz/g为0.01%

SOTN904直装式液位变送器
1、变送器外壳
2、信号线缆接头
3、连接法兰

